Product Summary
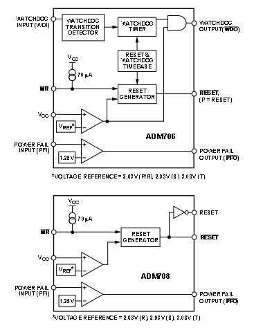
The ADM706SARZ is a microprocessor which is suitable for monitoring either 3 V or 3.3 V power supplies. The ADM706P/R/S/T provide the following functions: 1. Power supply monitoring circuitry which generates a Reset output during power-up, power-down and brownout conditions. The reset output remains operational with VCC as low as 1 V. 2. Independent watchdog monitoring circuitry which is activated if the watchdog input has not been toggled within 1.6 seconds. 3. A 1.25 V threshold detector for power fail warning, low battery detection, or to monitor an additional power supply. 4. An active low debounced manual reset input (MR). Applications include Microprocessor Systems, Computers Controllers, Intelligent Instruments, Automotive Systems, Battery Operated Systems and Portable Instruments.
Parametrics
ADM706SARZ absolute maximum ratings: (1)All Other Inputs: -0.3 V to VCC + 0.3 V; (2)Digital Output Current: 20 mA; (3)Power Dissipation, N-8 DIP: 727 mW; (4)Power Dissipation, SO-8 SOIC: 470 mW; (5)Operating Temperature Range: -40 to +85; (6)Storage Temperature Range: –65 to +150C; (7)ESD Rating: >5kV.
Features
ADM706SARZ features: (1)Precision Supply-Voltage Monitor; (2)100 mA Quiescent Current; (3)200 ms Reset Pulsewidth; (4)Independent Watchdog Timer—1.6 sec Timeout; (5)Voltage Monitor for Power-Fail or Low Battery Warning.
Diagrams
| Image | Part No | Mfg | Description | ![]() |
Pricing (USD) |
Quantity | ||||||||||||||||||
|---|---|---|---|---|---|---|---|---|---|---|---|---|---|---|---|---|---|---|---|---|---|---|---|---|
![]() |
![]() ADM706SARZ |
![]() |
![]() IC SUPERVISOR MPU 2.93 WD 8SOIC |
![]() Data Sheet |
![]()
|
|
||||||||||||||||||
![]() |
![]() ADM706SARZ-REEL |
![]() |
![]() IC SUPERVISOR MPU 2.93V WD 8SOIC |
![]() Data Sheet |
![]()
|
|
||||||||||||||||||
(China (Mainland))









