Product Summary
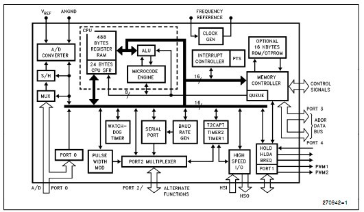
The N80C196KC20 16-bit microcontroller is a high performance member of the MCSE 96 microcontroller family. The N80C196KC20 is an enhanced 80C196KB device with 488 bytes RAM, 16 and 20 MHz operation and an optional 16 Kbytes of ROM/OTPROM. Intel CHMOS III process provides a high performance processor along with low power consumption.
Parametrics
N80C196KC20 absolute maximum ratings: (1)Ambient Temperature; (2)Under Bias: -55℃ to 125℃; (3)Storage Temperature: -65℃ to 150℃; (4)Voltage On Any Pin to VSS: -0.5V to 7.0V; (5)Voltage from EA or VPP to VSS or ANGND: 13.00V; (6)Power Dissipation: 1.5W.
Features
N80C196KC20 features: (1)16 and 20 MHz Available; (2)488 Byte Register RAM; (3)Register-to-Register Architecture; (4)28 Interrupt Sources/16 Vectors; (5)Peripheral Transaction Server; (6)1.4 ms 16 x 16 Multiply (20 MHz); (7)2.4 ms 32/16 Divide (20 MHz); (8)Powerdown and Idle Modes; (9)Five 8-Bit I/O Ports; (10)16-Bit Watchdog Timer; (11)Extended Temperature Available; (12)Dynamically Configurable 8-Bit or 16-Bit Buswidth; (13)Full Duplex Serial Port; (14)High Speed I/O Subsystem; (15)16-Bit Timer; (16)16-Bit Up/Down Counter with Capture; (17)3 Pulse-Width-Modulated Outputs; (18)Four 16-Bit Software Timers; (19); (20)Y 8- or 10-Bit A/D Converter with; (21)Sample/Hold; (22)Y HOLD/HLDA Bus Protocol; (23)Y OTPROM One-Time Programmable.
Diagrams

| Image | Part No | Mfg | Description | ![]() |
Pricing (USD) |
Quantity | ||||
|---|---|---|---|---|---|---|---|---|---|---|
![]() |
![]() N80C196KC20 |
![]() |
![]() IC MPU 16BIT 5V 20MHZ 68PLCC |
![]() Data Sheet |
![]() Negotiable |
|
||||
| Image | Part No | Mfg | Description | ![]() |
Pricing (USD) |
Quantity | ||||
![]() |
![]() N80C186-25 |
![]() Other |
![]() |
![]() Data Sheet |
![]() Negotiable |
|
||||
![]() |
![]() N80C186EA25 |
![]() |
![]() IC MPU 16-BIT 5V 25MHZ 68-PLCC |
![]() Data Sheet |
![]() Negotiable |
|
||||
![]() |
![]() N80C186EB25 |
![]() |
![]() IC MPU 16-BIT 5V 25MHZ 84-PLCC |
![]() Data Sheet |
![]() Negotiable |
|
||||
![]() |
![]() N80C186XL12 |
![]() |
![]() IC MPU 16BIT 5V 12MHZ 68PLCC |
![]() Data Sheet |
![]() Negotiable |
|
||||
![]() |
![]() N80C186XL20 |
![]() |
![]() IC MPU 16BIT 5V 20MHZ 68PLCC |
![]() Data Sheet |
![]() Negotiable |
|
||||
![]() |
![]() N80C186XL25 |
![]() |
![]() IC MPU 16-BIT 5V 25MHZ 68-PLCC |
![]() Data Sheet |
![]() Negotiable |
|
||||
(China (Mainland))









