Product Summary
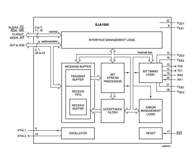
The SJA1000T is a stand-alone controller for the Controller Area Network (CAN) used within automotive and general industrial environments. It is the successor of the PCA82C200 CAN controller (BasicCAN) from Philips Semiconductors. Additionally, a new mode of operation is implemented (PeliCAN) which supports the CAN 2.0B protocol specification with several new features.
Parametrics
SJA1000T absolute maximum ratings: (1)supply voltage: -0.5 +6.5 V; (2)input/output current on all pins except TX0 and TX1: ±4 mA; (3)(sink) sink current of TX0 and TX1 together: 30 mA; (4)(source) source current of TX0 and TX1 together: -20 mA; (5)operating ambient temperature: -40 +125℃; (6)storage temperature: -65 +150℃; (7)total power dissipation: 1.0 W.
Features
SJA1000T features: (1)Pin compatibility to the PCA82C200 stand-alone CAN controller; (2)Electrical compatibility to the PCA82C200 stand-alone CAN controller; (3)PCA82C200 mode (BasicCAN mode is default); (4)Extended receive buffer (64-byte FIFO); (5)CAN 2.0B protocol compatibility (extended frame passive in PCA82C200 compatibility mode); (6)Supports 11-bit identifier as well as 29-bit identifier; (7)Bit rates up to 1 Mbits/s; (8)24 MHz clock frequency; (9)Interfaces to a variety of microprocessors; (10)Programmable CAN output driver configuration.
Diagrams
| Image | Part No | Mfg | Description | ![]() |
Pricing (USD) |
Quantity | ||||||||||||
|---|---|---|---|---|---|---|---|---|---|---|---|---|---|---|---|---|---|---|
![]() |
![]() SJA1000T |
![]() Other |
![]() |
![]() Data Sheet |
![]() Negotiable |
|
||||||||||||
![]() |
![]() SJA1000T/N,112 |
![]() |
![]() IC STAND-ALONE CAN CTRLR 28-SOIC |
![]() Data Sheet |
![]() Negotiable |
|
||||||||||||
![]() |
![]() SJA1000T/N,118 |
![]() |
![]() IC STAND-ALONE CAN CTRLR 28-SOIC |
![]() Data Sheet |
![]() Negotiable |
|
||||||||||||
![]() |
![]() SJA1000T/N1,112 |
![]() NXP Semiconductors |
![]() Network Controller & Processor ICs STAND-ALONE CAN CONTROLLER |
![]() Data Sheet |
![]()
|
|
||||||||||||
![]() |
![]() SJA1000T/N1,118 |
![]() NXP Semiconductors |
![]() Network Controller & Processor ICs STAND ALONE CAN |
![]() Data Sheet |
![]()
|
|
||||||||||||
![]() |
![]() SJA1000TD-T |
![]() NXP Semiconductors |
![]() Network Controller & Processor ICs STAND ALONE CAN CONTROLLER |
![]() Data Sheet |
![]() Negotiable |
|
||||||||||||
(China (Mainland))











