Product Summary
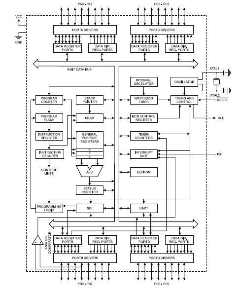
The AT90S8515-8AC is a low-power CMOS 8-bit microcontroller based on the AVR regenhanced RISC architecture. By executing powerful instructions in a single clock cycle, the AT90S8515-8AC achieves throughputs approaching 1 MIPS per MHz allowing the system designer to optimize power consumption versus processing speed. The AT90S8515-8AC core combines a rich instruction set with 32 general purpose working registers. All the 32 registers of the AT90S8515-8AC are directly connected to the Arithmetic Logic Unit (ALU), allowing two independent registers to be accessed in one single instruction executed in one clock cycle. The resulting architecture of the AT90S8515-8AC is more code efficient while achieving throughputs up to ten times faster than conventional CISC microcontrollers. The AT90S8515-8AC provides the following features: 8K bytes of Downloadable Flash, 512 bytes EEPROM, 512 bytes SRAM, 32 general purpose I/O lines, 32 general purpose working registers, flexible timer/counters with compare modes, internal and external interrupts, a programmable serial UART, programmable Watchdog Timer with internal oscillator, an SPI serial port and two software selectable power saving modes. The Idle Mode stops the CPU while allowing the SRAM, timer/ counters, SPI port and interrupt system to continue functioning.
Parametrics
AT90S8515-8AC absolute maximum ratings: (1)Storage Temperature: -65℃ to +150℃; (2)Voltage on Any Pin except RESET; (3)with Respect to Ground: -1.0V to VCC + 0.5V; (4)Voltage on RESET with Respect to Ground: -1.0V to +13.0V; (5)Maximum Operating Voltage: 6.6V; (6)DC Current per I/O Pin: 40.0 mA; (7)DC Current VCC and GND Pins: 200.0 mA; (8)Operating Temperature: -55℃ to +125℃.
Features
AT90S8515-8AC features: (1)Utilizes the AVRRISC Architecture; (2)AVR High-performance and Low-power RISC Architecture; (3)Data and Nonvolatile Program Memory; (4)Special Microcontroller Features; (5)Low-power Idle and Power-down Modes; (6)External and Internal Interrupt Sources; (7)Specifications; (8)Low-power, High-speed CMOS Process Technology; (9)Fully Static Operation; (10)Power Consumption at 4 MHz, 3V, 25℃.
Diagrams

| Image | Part No | Mfg | Description | ![]() |
Pricing (USD) |
Quantity | ||||
|---|---|---|---|---|---|---|---|---|---|---|
![]() |
![]() AT90S8515-8AC |
![]() Atmel |
![]() 8-bit Microcontrollers (MCU) 8K Flash 5V |
![]() Data Sheet |
![]() Negotiable |
|
||||
| Image | Part No | Mfg | Description | ![]() |
Pricing (USD) |
Quantity | ||||
![]() |
![]() AT90-0001 |
![]() Other |
![]() |
![]() Data Sheet |
![]() Negotiable |
|
||||
![]() |
![]() AT90-0001TR |
![]() M/A-COM Technology Solutions |
![]() Active Attenuator DC-6.0GHz 5-bit 31dB to 1dB steps |
![]() Data Sheet |
![]() Negotiable |
|
||||
![]() |
![]() AT9001 |
![]() Other |
![]() |
![]() Data Sheet |
![]() Negotiable |
|
||||
![]() |
![]() AT90-0106 |
![]() Other |
![]() |
![]() Data Sheet |
![]() Negotiable |
|
||||
![]() |
![]() AT90-0107 |
![]() Other |
![]() |
![]() Data Sheet |
![]() Negotiable |
|
||||
![]() |
![]() AT9001-53T |
![]() NKK Switches |
![]() Switch Hardware CAP |
![]() Data Sheet |
![]() Negotiable |
|
||||
(China (Mainland))










