Product Summary
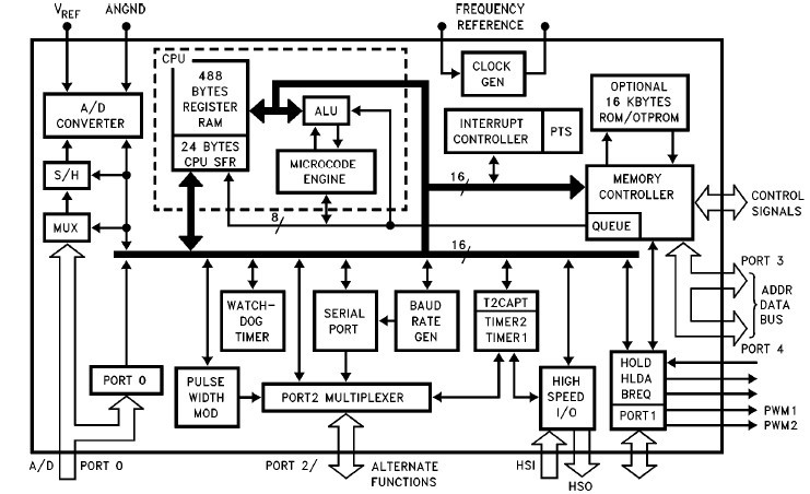
The N87C196KC20 16-bit microcontroller is a high performance member of the MCSE 96 microcontroller family. The N87C196KC20 is an enhanced 80C196KB device with 488 bytes RAM, 16 and 20 MHz operation and an optional 16 Kbytes of ROM/OTPROM. Intel CHMOS III process provides a high performance processor along with low power consumption.
Parametrics
N87C196KC20 absolute maximum ratings: (1)Ambient Temperature Under Bias: -55℃ to 125℃; (2)Storage Temperature: -65℃ to 150℃; (3)Voltage On Any Pin to VSS: -0.5V to 7.0V; (4)Voltage from EA or VPP to VSS or ANGND: 13.00V; (5)Power Dissipation: 1.5W.
Features
N87C196KC20 features: (1)16 and 20 MHz Available; (2)488 Byte Register RAM; (3)Register-to-Register Architecture; (4)28 Interrupt Sources/16 Vectors; (5)Peripheral Transaction Server; (6)1.4 ms 16 x 16 Multiply (20 MHz); (7)2.4 ms 32/16 Divide (20 MHz); (8)Powerdown and Idle Modes; (9)Five 8-Bit I/O Ports; (10)16-Bit Watchdog Timer; (11)Extended Temperature Available; (12)Dynamically Configurable 8-Bit or 16-Bit Buswidth; (13)Full Duplex Serial Port; (14)High Speed I/O Subsystem; (15)16-Bit Timer; (16)16-Bit Up/Down Counter with Capture; (17)3 Pulse-Width-Modulated Outputs; (18)Four 16-Bit Software Timers; (19)8- or 10-Bit A/D Converter with Sample/Hold; (20)HOLD/HLDA Bus Protocol; (21)OTPROM One-Time Programmable Version.
Diagrams

| Image | Part No | Mfg | Description | ![]() |
Pricing (USD) |
Quantity | ||||
|---|---|---|---|---|---|---|---|---|---|---|
![]() |
![]() N87C196KC20 |
![]() |
![]() IC MCU 16BIT 5V 16K OTP 68PLCC |
![]() Data Sheet |
![]() Negotiable |
|
||||
| Image | Part No | Mfg | Description | ![]() |
Pricing (USD) |
Quantity | ||||
![]() |
![]() N87C196KB16 |
![]() |
![]() IC MCU 16-BIT 5V 8K OTP 68-PLCC |
![]() Data Sheet |
![]() Negotiable |
|
||||
![]() |
![]() N87C196KC20 |
![]() |
![]() IC MCU 16BIT 5V 16K OTP 68PLCC |
![]() Data Sheet |
![]() Negotiable |
|
||||
![]() |
![]() N87C196KD |
![]() |
![]() IC MCU 16-BIT 5V 32K OTP 68-PLCC |
![]() Data Sheet |
![]() Negotiable |
|
||||
![]() |
![]() N87C196KD20 |
![]() |
![]() IC MCU 16-BIT 5V 32K OTP 68-PLCC |
![]() Data Sheet |
![]() Negotiable |
|
||||
![]() |
![]() N87C196MC |
![]() |
![]() IC MCU 16BIT 5V 16K OTP 84-PLCC |
![]() Data Sheet |
![]() Negotiable |
|
||||
![]() |
![]() N87C196MD |
![]() |
![]() IC MCU 16-BIT 5V 16K OTP 84-PLCC |
![]() Data Sheet |
![]() Negotiable |
|
||||
(China (Mainland))









